16-Bit, 500kSPS, 4- and 8-Channel,Single Supply, SAR ADCs with Bipolar Input Ranges.
SGM51652H4/SGM51652H8
SGM51652H4/SGM51652H8.pdf
No.14063
FEATURES
? 16 Bits ADC
? Programmable Input Ranges:
Bipolar Ranges: ±10.24V, ±5.12V, and
±2.56V0.24V, ±5.12V, and ±2.56V
Unipolar Ranges: 0V to 10.24V and 0V to 5.12V
? Supply Voltage Ranges:
Analog Supply: 5V
I/O Supply: 1.65V to 5V
? On-Chip Reference: 4.096V
? Differential Nonlinearity (DNL): ±0.65LSB
? Integral Nonlinearity (INL):
±1.1LSB for All Bipolar Ranges
±0.5LSB for All Unipolar Ranges
? Signal-to-Noise Ratio (SNR): 91dB
? Total Harmonic Distortion (THD): -102dB
? Alarm Features
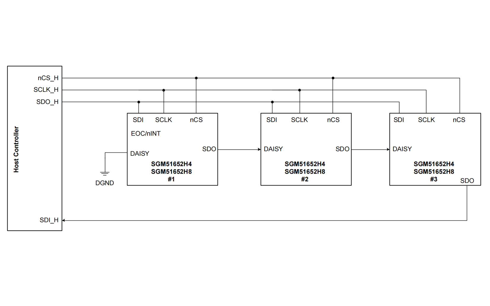
? Daisy-Chain Operation
? -40℃ to +125℃ Operating Temperature Range
? Available in a Green TSSOP-38 Package
DESCRIPTION
The SGM51652H4 and SGM51652H8 are 4-channel and 8-channel, 16-bit resolution, high-precision successive approximation (SAR) analog-to-digital converters (ADCs).
These ADCs are powered by a single unipolar 5V, and support true bipolar ±10.24V, ±5.12V, and ±2.56V inputs, as well as unipolar input ranges of 0V to 10.24V and 0V to 5.12V. The input range is configured by software.
These chips provide over-voltage protection up to ±20V at the input.
These chips have an on-chip high accuracy and low drift 10ppm reference.
The input impedance of these chips is ~1MΩ and it is independent of input range selection.
The digital interface is compatible to the traditional SPI protocol.
APPLICATION CIRCUIT
PIN CONFIGUTION









