High Speed Operational Amplifier, SGM8965-1 Replace OPA365.
SGM8965-1
SGM8965-1.pdf
FEATURES
? Gain Bandwidth: 50MHz
? Excellent THD+N: 0.00015%
? High CMRR: 100dB (TYP)
? Rail-to-Rail Input and Output:
Input 100mV Beyond Supply Rail
? Low Noise: 4.5nV/Hz at 100kHz
? Slew Rate: 30V/μs
? High Precision:
Low Offset: 250μV (MAX)
Low Input Bias Current: 0.5pA (TYP)
? Stable When Gain ≥ 4
? 2.2V to 5.5V Operation Voltage Range
? -40℃ to +125℃ Operating Temperature Range
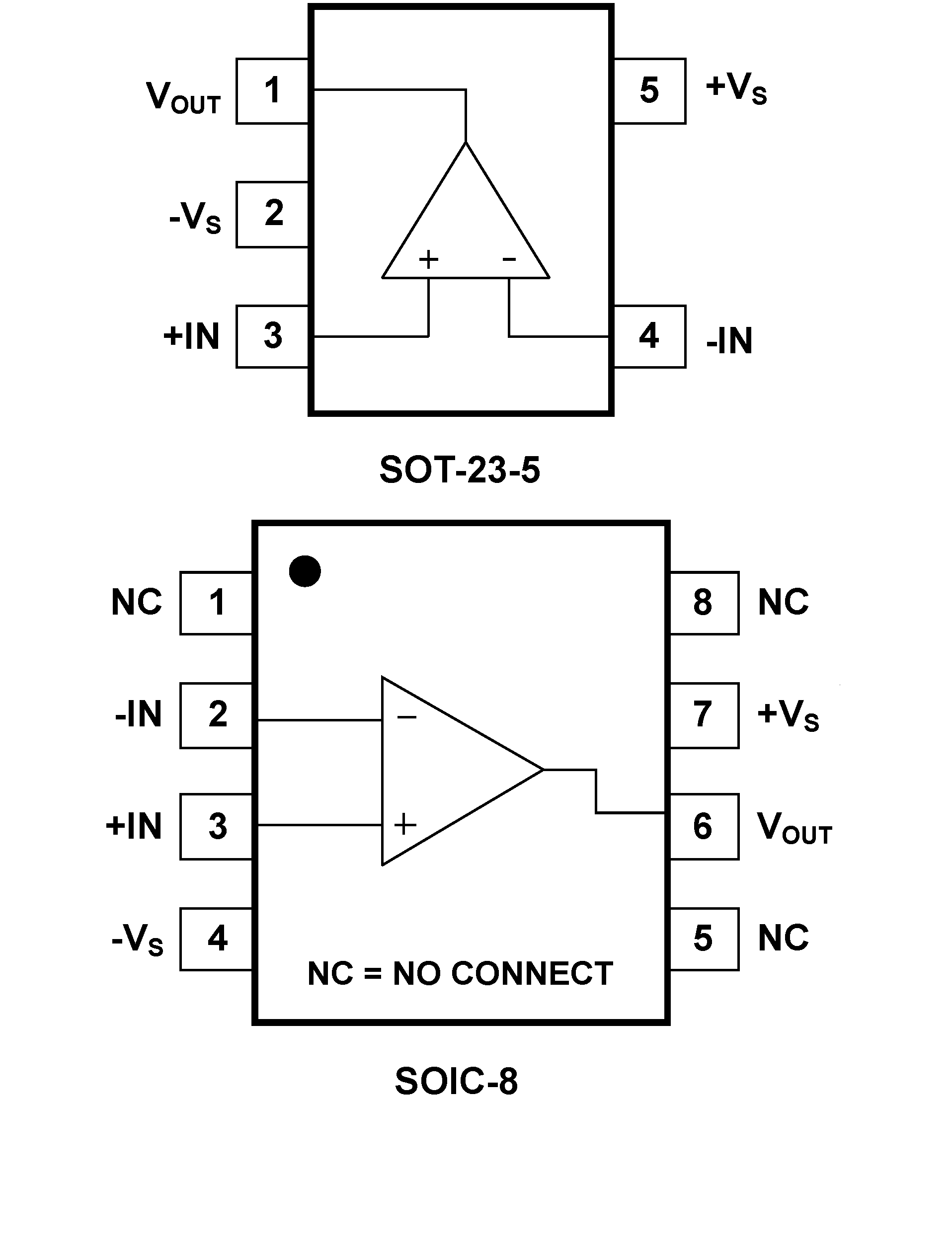
PIN CONFIGUTION
优势替代
FEATURES
? GAIN BANDWIDTH: 50MHz
? ZERO?CROSSOVER DISTORTION TOPOLOGY:
? Excellent THD+N: 0.0004%
? CMRR: 100dB (min)
? Rail-to-Rail Input and Output
? Input 100mV Beyond Supply Rail
? LOW NOISE: 4.5nV/Hz at 100kHz
? SLEW RATE: 25V/μs
? FAST SETTLING: 0.3μs to 0.01%
? PRECISION:
? Low Offset: 100μV
? Low Input Bias Current: 0.2pA
? 2.2V TO 5.5V OPERATION
PIN CONFIGUTION









