High Precision Operational Amplifier, Replace MCP6V11
SGM8957-1
SGM8957-1.pdf
FEATURES
? Low Offset Voltage: 25μV (MAX)
? Low 0.1Hz to 10Hz Noise: 2μVP-P
? Quiescent Current: 20μA/Amplifier (TYP)
? Single Supply Operation
? Integrated RFI Filter
? Supply Voltage Range: 1.8V to 5.5V
? Rail-to-Rail Input/Output
? -40℃ to +125℃ Operating Temperature Range
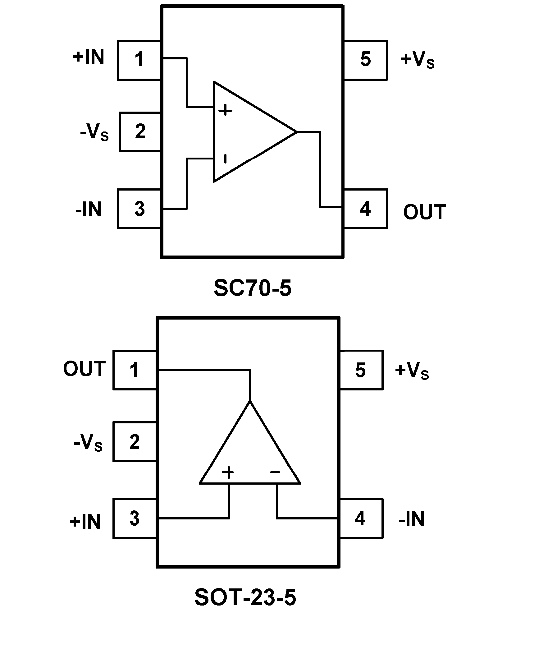
? Small Packaging: SOT-23-5, SC70-5 and SOIC-8 Packages
PIN CONFIGUTION
优势替代
FEATURES
? High DC Precision:
- VOS Drift: ±50 nV/°C (maximum)
- VOS: ±8 μV (maximum)
- AOL: 112 dB (minimum, VDD = 5.5V)
- PSRR: 118 dB (minimum, VDD = 5.5V)
- CMRR: 119 dB (minimum, VDD = 5.5V)
? Low Power and Supply Voltages:
- IQ: 7.5 μA/amplifier (typical)
- Wide Supply Voltage Range: 1.6V to 5.5V
PIN CONFIGUTION









