High Precision Operational Amplifier, SGM8955 Replace OPA330.
SGM8955
SGM8955.pdf
FEATURES
? Low Offset Voltage: 50μV (MAX)
? Low 0.1Hz to 10Hz Noise: 2μVP-P
? Quiescent Current: 20μA/Amplifier (TYP)
? Integrated RFI Filter
? Single-Supply Operation
? Supply Voltage Range: 1.8V to 5.5V
? Rail-to-Rail Input and Output
? -40℃ to +125℃ Operating Temperature Range
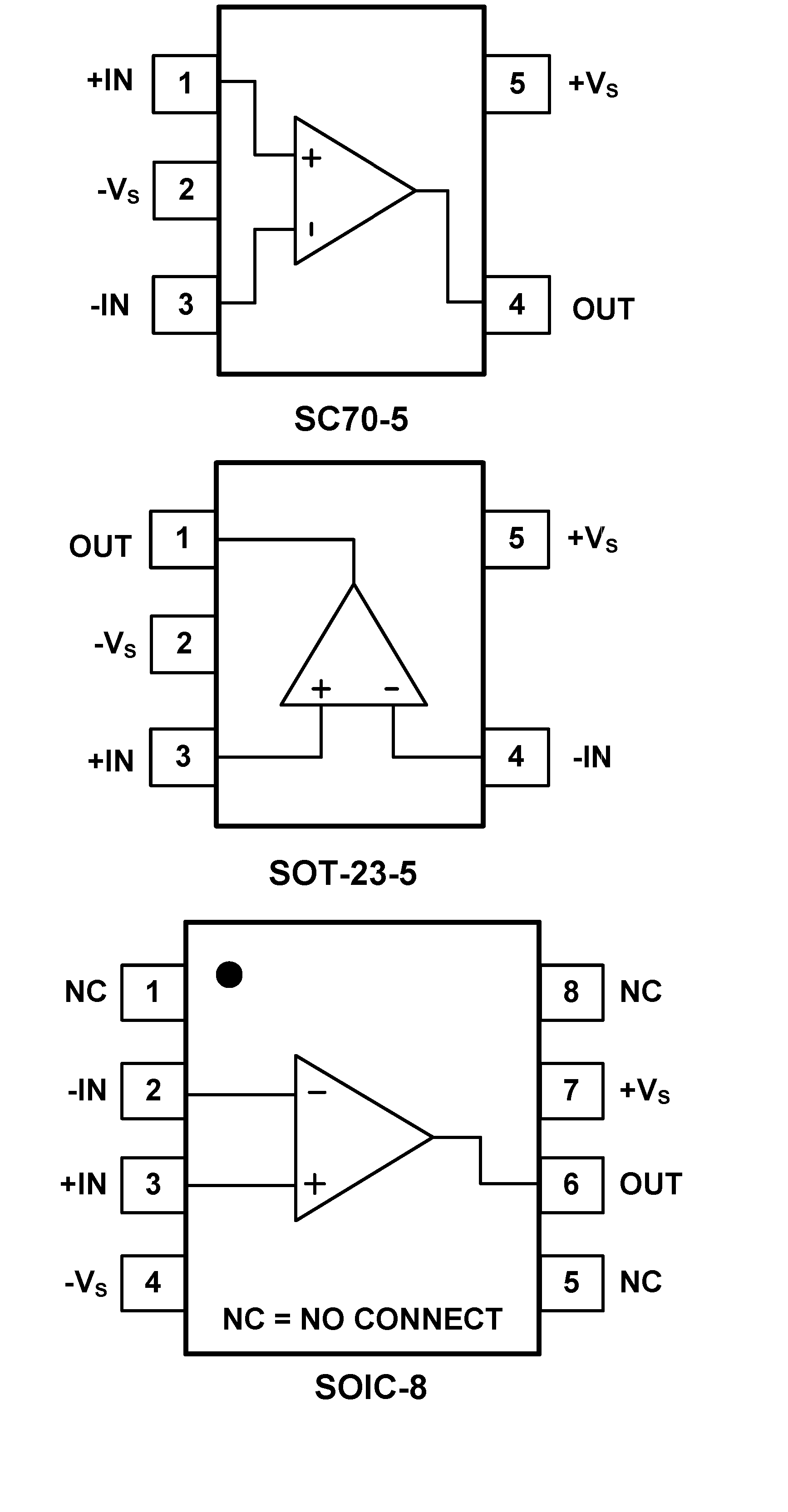
? Small Packaging: SOT-23-5, SC70-5 and SOIC-8
PIN CONFIGUTION
优势替代
FEATURES
? Unmatched Price Performance
? Low Offset Voltage: 50 μV (Maximum)
? Zero Drift: 0.25 μV/°C (Maximum)
? Low Noise: 1.1 μVPP, 0.1 Hz to 10 Hz
? Quiescent Current: 35 μA (Maximum)
? Supply Voltage: 1.8 V to 5.5 V
? Rail-to-Rail Input and Output
? Internal EMI Filtering
? microSize Packages: DSBGA, SC70, VQFN
PIN CONFIGUTION









