Micro Power operational Amplifier,SGM8240-1 Replace TLV2381.
SGM8240-1
SGM8240-1.pdf
FEATURES
? Low Noise: 3μVP-P (0.1Hz to 10Hz)
? Wide Supply Voltage Range: 2.7V to 24V
? Micro Power Consumption: 2.8μA/Amplifier (TYP)
? Low Offset Voltage: 0.4mV (TYP)
? Noise Density: 100nV/ Hz at 1kHz
? Slew Rate: 0.05V/μs
? Rail-to-Rail Input and Output
? High DC Precision:
CMRR: 110dB
PSRR: 116dB
AOL: 120dB
? -40℃ to +125℃ Operating Temperature Range
? Small Packaging:
SGM8240-1 Available in Green SOT-23-5 and
SC70-5 Packages
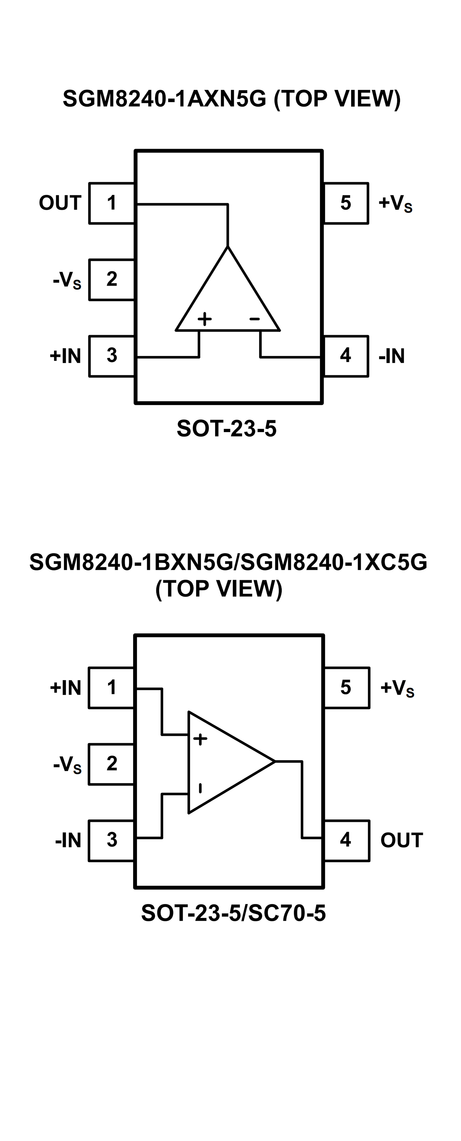
PIN CONFIGUTION
优势替代
FEATURES
? BiMOS Rail-to-Rail Input/Output
? Input Bias Current ...1 pA
? High Wide Bandwidth ...160 kHz
? High Slew Rate ...0.1 V/?s
? Supply Current ...7 ?A (per channel)
? Input Noise Voltage ...90 nV/Hz
? Supply Voltage Range ...2.7 V to 16 V
? Specified Temperature Range
-40°C to 125°C ...Industrial Grade
? Ultra-Small Packaging
5 Pin SOT-23 (TLV2381)
PIN CONFIGUTION









