X-DPDT Switch for 0.4~3.8G Application,SGM72322A Replace MXD8546F
优势替代
FEATURES
? Single control voltage input
? Broadband frequency range: 0.4 to 3.8 GHz
? Low insertion loss: 0.45 dB @ 2.7 GHz
? P0.1dB of 38dBm
? No DC blocking capacitors required
? Positive control voltage range: 1.8 to 3.3 V
? Small, QFN (12-pin, 2 x 2 mm) package
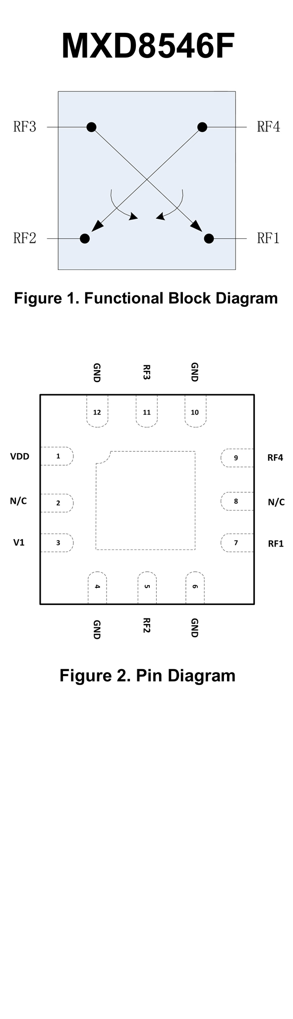
PIN CONFIGUTION









